Brake Switch A Circuit Low How To Fix

Đăng nhận xét

Brake Switch A Circuit Low How To Fix. Brake pedal sensor, brake pedal position sensor, brake pedal position switch.there are a number of names for this switch. Visually inspect the related wiring harness. In many cars, there is a special procedure to remove and install the brake light.

Diagnostic Information and Procedures DTC P0719 Brake Switch Circuit
Diagnostic Information and Procedures DTC P0719 Brake Switch Circuit from www.repairprocedures.com

How code p0719 is set. Adjusting a poorly adjusted brake light switch. Begin with a visual inspection of brake lamp wiring and a general inspection of underhood wiring. Visually inspect the related wiring harness. Make sure to follow manufacturer specific brake switch installing and adjusting procedures to avoid damaging the sensor or even causing more issues. This can happen for multiple reasons and a mechanic needs to diagnose the specific cause for this. What repairs can fix the p0572 code? Brake switch circuit poor electrical connection | how do i fix the code p0719? Brake switch circuit poor electrical connection | how do i fix the code p0719 gmc?

Begin With A Visual Inspection Of Brake Lamp Wiring And A General Inspection Of Underhood Wiring.


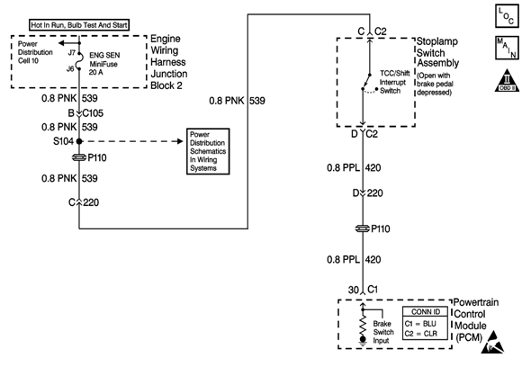
Brake switch circuit poor electrical connection | how do i fix the code p0719? The pcm does not look at the brake switch input for tcc apply if there is any brake switch circuit fault. Check the possible causes listed above. Diagnostic trouble code (dtc) p0703 stands for “brake switch “b” circuit.” this code can be set when the powertrain control module (pcm) detects a signal from the brake switch that doesn’t. Check the possible causes listed above. Brake pedal sensor, brake pedal position sensor, brake pedal position switch.there are a number of names for this switch. Bottom line, this sensor activate.

In Many Cars, There Is A Special Procedure To Remove And Install The Brake Light.


The brake switch indicates brake pedal status to the powertrain control module (pcm). The brake switch b circuit is part of the torque converter clutch system. The replacement of a brake light switch in a repair shop can cost from $55 to $115 (part and labor). How code p0719 is set. Make sure to follow manufacturer specific brake switch installing and adjusting procedures to avoid damaging the sensor or even causing more issues. What repairs can fix the p0572 code? Basic step #2 verify the circuit.

Visually Inspect The Related Wiring Harness And.


These tools will be necessary to diagnose a code p0719. Up to $8 cash back what the p0719 code means. P0572 is a diagnostic trouble code (dtc) for cruise control/brake switch a circuit low. Replacing a failed cruise control switch. Test stop lamp system fuses and. This indicates the status of the brake pedal, and works as part. Visually inspect the related wiring harness.

Brake Switch Circuit Poor Electrical Connection | How Do I Fix The Code P0719 Gmc?


Adjusting a poorly adjusted brake light switch. This can happen for multiple reasons and a mechanic needs to diagnose the specific cause for this. How do you fix a low brake switch circuit?

Related Posts

Đăng nhận xét